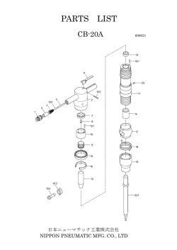
NWH-320P - 日本ニューマチック工業

PARTS
LIST
NWH-320P(P)
日本ニューマチック工業株式会社
NIPPON PNEUMATIC MFG. CO., LTD.
525970
型式 MODEL:
符号
品番
ITEM PART NO.
1 15206760
2 単品販売不可
4 15202720
5 単品販売不可
6 15206780
7 15206820
8 15206330
9 単品販売不可
10 15219506
11 15210910
12 15205040
13 15211280
14 15211030
15 15219287
16 15219734
17 15211090
19 15219950
20 15211080
21 15211040
22 15219507
23 15210810
24 単品販売不可
26 15211000
27 15211160
28 15210940
29 15211150
30 15210960
31 15210950
32 15211120
33 15210800
34 15210970
35 15211140
36 15210930
37 単品販売不可
38 15211170
39 15211010
100 74006016
101 28100362
102 28100501
103 76420106
104 28100526
105 28201027
106 28201028
107 28203026
108 28203030
109 25502120
110 28205026
111 28205061
113 28206074
114 28207112
115 28207224
116 25305020
117 28208080
118 28208107
119 25307360
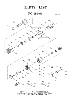
パーツリスト PARTS LIST
NWH-320P
品名
インレットブッシュ
ハンドル
スロットルスプリング
スロットルブッシュ
スロットルピン
レバー
オイルプラグ
リバースブッシュ
リバースバルブ
リバースレバー
スプリング
ハンドルキャップ
トップシール
トッププレートWBR
シリンダ
ロータ
ベーン
ボッタムプレート
ボッタムシール
スプリング
エキゾストカバー
ハンマケース
ハンマ
ベアリングブッシュ
カムローラ
プッシュプレート
スラストワッシャ
カムシャフト
ロータピン
プッシュスプリング
スピンドルクラッチ
ストッパピン
アンビル
ケースブッシュ
ラバーリング
ホルダ
キャップスクリュ
キャップスクリュ
六角穴付プラグ
スプリングワッシャ
スプリングワッシャ
ボールベアリング
ボールベアリング
ニードルベアリング
ニードルベアリング
スチールボール
スチールボール
ステンレスボール
ピン
ローラピン
ローラピン
スプリングピン
スプリングピン
スプリングピン
リテーナリング
525970
PART NAME
INLET BUSHING
ハンドルWB及びCPにて販売
THROTTLE SPRING
ハンドルWB及びCPにて販売
THROTTLE PIN
LEVER
OIL PLUG
ハンドルWB及びCPにて販売
REVERSE VALVE
REVERSE LEVER
SPRING
HANDLE CAP
TOP SEAL
TOP PLATE WBR
CYLINDER
ROTOR
VANE
BOTTOM PLATE
BOTTOM SEAL
SPRING
EXHAUST COVER
ハンマケースWB及びCPにて販売
HAMMER
BEARING BUSH
CAM ROLLER
PUSH PLATE
THRUST WASHER
CAM SHAFT
ROTOR PIN
PUSH SPRING
SPINDLE CLUTCH
STOPPER PIN
ANVIL
ハンマケースWB及びCPにて販売
RUBBER RING
HOLDER
CAP SCREW
CAP SCREW
HEX.SOCKET PLUG
SPRING WASHER
SPRING WASHER
BALL BEARING
BALL BEARING
NEEDLE BEARING
NEEDLE BEARING
STEEL BALL
STEEL BALL
STAINLESS BALL
PIN
ROLLER PIN
ROLLER PIN
SPRING PIN
SPRING PIN
SPRING PIN
RETAINING RING
日本ニューマチック工業株式会社
NIPPON PNEUMATIC MFG. CO., LTD.
(1/2)
個数
Q'ty
1
1
1
1
1
1
1
1
1
1
1
1
1
1
1
1
6
1
1
1
1
1
1
1
1
1
1
1
1
1
1
1
1
1
1
1
4
8
1
4
8
1
1
1
1
1
12
1
1
1
3
1
2
1
1
定価
1,120
170
270
990
170
2,300
1,650
170
5,750
330
6,650
12,160
10,840
430
6,080
280
220
1,610
25,780
2,140
1,510
200
460
12,980
970
790
13,960
330
23,160
450
3,450
170
170
170
170
170
940
1,020
920
960
170
170
300
170
170
170
170
170
170
170
型式 MODEL:
符号
品番
ITEM PART NO.
120 25307750
121 61200100
122 61200120
123 63910090
124 63200180
200 24901041
CP リスト
【15】 15219287
(42) 15211060
(105) 28201027
15219285
15219286
15219289
15219342
15219384
15219787
パーツリスト PARTS LIST
NWH-320P
品名
スナップリング
Oリング
Oリング
Oリング
Oリング
ホースニップル
525970
(2/2)
個数
Q'ty
1
1
1
1
1
1
定価
170
170
170
170
170
300
トッププレートWBR TOP PLATE WBR
トッププレート
TOP PLATE
1
ボールベアリング
BALL BEARING
1
カムローラCP
CAM ROLLER CP
27,28,29,107,108
スピンドルクラッチCP SPINDLE CLUTCH CP
31,34,35,110,117
ハンドルWB
HANDLE WB
2,5,9,118,122
ハンマケースCP
HAMMER CASE CP
24,37,38,102
ハンドルCP
HNADLE CP
1,2,4,5,6,7,8,9,22,23,111,114,116,118,121,122,124
ハンマケースWB
HAMMER CASE WB
24,37,102
6,650
PART NAME
SNAP RING
O RING
O RING
O RING
O RING
HOSE NIPPLE
日本ニューマチック工業株式会社
NIPPON PNEUMATIC MFG. CO., LTD.
6,240
29,560
19,220
22,010
30,380
18,560